史上最大かつ最長の偽旗
2020年5月12日
開示作戦(Operation Disclosure)| ライナス・ブアハーゲン
エリートはどのようにして世界の人口に対して大量虐殺を行うつもりですか?
新世界秩序(NWO)エリートは神から分離しています。彼らは人類を永遠に奴隷にする完全な制御を望んでいます。
https://twitter.com/gemmaod1/status/1259893727675535360?s=21
ワクチンでのみ、新・通常の1.5に戻すことができます!!!!
それを決定するのは誰ですか?
これはまた、彼がボス(WHO POWER)であることを示しており、誰もがすべてをお金と権力による独裁者として処方しています。 とても怖くて危険なこの悪魔!!!
リボ核酸(RNA)ウイルスはワクチンを作ることができませんでした!!!!
ビル・ゲイツはすでに彼の名前において何人の死、または不具にした人がいますか?
https://www.youtube.com/watch?v=pjj4Iq-rsNg
ビル・ゲイツにとって、人類はワクチン接種なしで何百万年も生きてきました。
なぜこのサイコパスを信頼すべきなのでしょうか。
彼はアジェンダ21の支持者であり、積極的に生命を破壊していることで知られています。
彼の予防接種には、人口を不妊にする物質が含まれています。
それで彼は人類を一掃することを計画しています。
https://healthwatch.eu/nl/bill-gates-vaccins-moeten-wereldbevolking-uitdunnen/
すべてNWOの悪魔主義者である政府の指導者たちは、何年にもわたってこれに取り組んできました。
予防接種をしないと、チップRFID情報によって社会から排除されます。
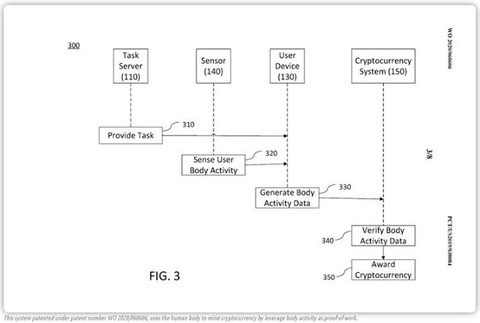
https://biohackinfo.com/news-microsoft-patent-wo2020060606-human-biometrics-crypto-mining/?fbclid=IwAR2vcWKzTf4Y-GAsJYuLZuHy8aDTul3sC-lGoba6F8i807WBRjwub32GJg8
マイクロソフトは、体の熱や脳波活動などの人間の生体認証を使用して暗号通貨をマイニングするシステムの特許を取得しています。
国際特許番号WO-2020-060606に基づいて申請され、「身体データ活動を使用する暗号通貨システム」と題されたこの特許は、人間の身体活動を作業証明として活用しています。
この作業証明は、ユーザーが特定のタスクを実行した場合、または広告の表示や検索エンジンの使用などのオンライン活動でさえも達成されます。
「一部の従来の暗号通貨システムで必要とされる大規模な計算作業の代わりに、ユーザーの身体活動に基づいて生成されたデータは作業証明であるため、ユーザーは無意識のうちに計算上困難な問題を解決できます」と特許は述べています。
世界知的所有権機関によって3月26日に公開された特許にもかかわらず、暗号通貨業界のいくつかの巨人がすでに参加しており、英国で最も若い自作の億万長者ベンデロによって設立された暗号通貨取引所BitMEXが250万ドルをゲイツ財団に寄付しました。
身体活動と生体認証がサーバーと暗号通貨ハードウェアにどのように通信されるかについて、特許は「ユーザーのデバイスに通信可能に結合された、またはデバイスに含まれているセンサーがユーザーの身体活動を感知できる」と説明しています。次に、この特許は、この目的に使用できるセンサーの例を提供します。たとえば、「fMRIスキャナー、脳波(EEG)センサー、近赤外線分光法(NIRS)センサー、心拍数モニター、熱センサー、光学センサー、無線周波数センサー、超音波センサー、カメラ、またはその他のセンサーやスキャナー。」
この例のリストは、典型的な特許の備蓄、またはこのシステムの該当するすべての側面を確実に所有するようにするマイクロソフトの方法です。人間のバイオメトリクスを検出して追跡するために特別に作成されたセンサーを備えた実際のテクノロジーは、BEZH Internationalと呼ばれるデンマークのマイクロソフト・パートナーによって開発されているマイクロチップ・インプラントです。結局のところ、マイクロチップ・インプラントは文字通り体内にあるため、バイオメトリックスに最適なセンサーです。
BEZHのマイクロチップ・インプラントは、バイオメトリクス(医療データや遺伝データを含む)を保存および送信できるだけでなく、Microsoftの特許の暗号通貨マイニングの側面全体を補完します。これは、昨年数か月間、暗号通貨にリストされていた独自の暗号通貨を備えているためです。 バウナンスを交換します。
このバイオメトリクス・ベースの暗号通貨マイニングの特許とその他の人間のマイクロチッピング・プロジェクトにより、MITが開発中の避妊マイクロチップ・インプラントと埋め込み型量子ドット・ワクチン接種レコード・カプセル、および国連の持続可能な開発目標の一部であるID2020 、それはビル・ゲイツが地球上で最も多作のサイバネティック・バイオ・ハッカーであるかもしれないように見え始めています。 エロン・マスクのNeuralinkでさえ、これほど速くバイオハッキングの主流化を加速させていません。これを米国に加えて、ビル・ゲイツを世界保健機構の実権を握るように支持する超党派の支持者がいるようです-リンジーグラハム上院議員のような保守的な共和党でさえ、ゲイツをWHOの首長にすることを求めています。
はい、未来は今であり、ビル・ゲイツがバイオ・ハッキングと埋め込み型テクノロジーを通じて公衆衛生と人間生物学に革命を起こすのに最適な立場にあるため、ビル・ゲイツがこの未来をリードしているように見えます。
ただし、この暗号通貨採掘プロジェクトがマイクロソフトの前述のより有望な人間のマイクロチッピング・プロジェクトに接続されるという兆候はまだありません。ただし、コロナウイルスのパンデミックにより、埋め込み型量子ドット・ワクチン接種記録カプセルとID2020が統合されて、ゲイツ氏がCOVID-19に対するワクチン接種の証拠として持ってほしいデジタル証明書が作成される可能性があります。これにより、2つのプロジェクトをBEZHが開発しているバイオ・メトリクス感知マイクロチップ・インプラントとマージする可能性が生まれます。バイオメトリクス・データは、パンデミックなどの健康関連のイベント中に最も重要であるためです。
親会社であるマイクロソフトと同様に、BEZHは、「サイバー・ファーム・システム」と呼ばれるモノのインターネット・スマート・ファーミング・システムや、 北スーダン王国と呼ばれるモノのインターネット・インフラストラクチャ・マイクロネーションの確立など、バイオハッキングと人間の機能強化を補完する他のプロジェクトにも同時に取り組んでいます。
https://tykn.tech/?fbclid=IwAR1LCeSrfdMir3uePc3jic8-hoslfsB-I0WeXxnvSxDu2p84tdMYoWYfBgQ
121安全、迅速、かつ正直
Tyknは121のデジタルIDバックエンドの開発をリードしています。
121は、オランダ赤十字の510データ・チーム・イニシアチブであり、2018年に開始されました。これは、複数の場所に広がる人道的、技術的、学術的パートナーのコンソーシアムの知識とスキルに基づいて構築されたシステムです。
121は、デジタルIDを作成することで、支援にデジタルで安全なアクセスに関与する人々を提供することにより、将来的に現金ベースの支援をスピードアップすると考えています。
新世界秩序NWOの人形は、写真にないときは口の保護を外します。
https://twitter.com/Matt_Zawadzki/status/1260091180190240768
一方、ドイツでは。
今週が決して忘れない週であるなら、次の情報は明らかです。
私たちの兵舎はこれ以上何もしません、
米軍は2週間前に兵舎にいて、武器を押収しました。
登録され、一部返還されました。
ドイツ連邦軍(軍)はタンポンのみを投げることができるようになりました。
彼らは古い占領軍であり、システムに従って機能します。
何が起こっているのか、まだわかりません。
軍はドイツの領土に兵舎を構え、パージ命令とは何の関係もありません。

私は、コロナウイルスが集団虐殺の予防接種を恐れることを強制する大きな偽旗であることを100%確信しています。
NWOの精神病者によって人々に制限を課すのは不自然な行動です。
ワクチン接種の重金属は、5Gの電磁放射の導体として機能します。
予防接種の後、ネップ・コロナ( Nep Corona)の2番目の波、次にマイクロ波5G放射が期待できます。
二次反応では、ワクチン接種の開発に数年かかる場合、もちろんテストなしで数か月以内に実施できるようになりました。
ジャーナリストは、国民からの警告を陰謀説としてラベル付けするように賄賂を渡された。彼らは政治家や警察と一緒にワクチンと5Gのおもちゃでとてもタフになりたいと思うのか。
さらに2年後、問題は確実に解決されます。
この通信は、2020年4月26日に公開されました。
これはもちろんワクチン接種業界にとっては悪い広告なので、ファクトチェッカーと多額のお金を使ってメディアの嘘として販売されています。
Elisa Gravyが自分の実験で亡くなったかどうかに関係なく、それらは有害な体に敵対的な物質であり、結果として多くの悲惨さをもたらします。
主流メディアまたは政治を信じている人は誰でも私たちの時代ではなく、おそらく遅滞しています。
このビル・ゲイツ・プランデミックのジェノサイドを私たちに強制するために人々が回転している方法はグロテスクです。
問題の人々の利益に反することを誰にも強制する権利は誰にもありません。
誰もが主権者であり、出産の権利を持っています。この神の権利は、発明された陰謀団の地上の法律よりも上です。
デープステーツ・カバルに対する訴訟は始まっていますか?
はい。 私はこれからの移行を信じています。
人々は、政治や虚偽の専門家、政治家、あるいは後期の警察の脅迫に耳を傾けるべきではありません。
外に出て、一緒に天気を楽しんでください。1.5メートルのファシズムが課されないようにしてください。
あなたは罰金を払うつもりですか? とにかく払わないので、笑ってください。
あなたにワクチン接種を強制するために,あなたの支払われた税金と協力する政治家はあなたの本当の敵です。
オランダは問題の原因であるだけでなく、解決策でもあります。
ヒトラー内閣全体と偽の王を削除し、オランダを代表して1945年以降に行われたすべての契約を無効と宣言する。
ここに確証があります。
第二次世界大戦以来、オランダには憲法、法的政府、王室はなく、それ以来ドイツ連邦政府もありません。 ドイツは第二次世界大戦以来、米国の統治下にあります。
https://twitter.com/Maaike_Louwe/status/1259564275816960001
1700年には当時の王が子供を産むことができなかったので、とにかく王室はもうありませんでした。これは、オランダが実際には米国出身であることを意味します。
14、あなたの注意は軍事政令第1号に向けられています。その規定はあなたに適用可能であり、あなたの軍隊はそのコピーが添付されています。あなたはあなたの指揮下のすべての軍隊に遅滞なく責任を負います。
15、あなたは、すでに整理されたように、障害物やミナなどの運河をきれいにし、通常のはしけ輸送が再開されるように続けます。
16、あなたはオランダの民間人に食事を与えるための手配を引き続き支援します。
17、これらの命令はあなたに偏見なく発行され、ドイツおよび軍全体に適用される降伏の一般的な手段に取って代わられます。
チャールズ・フォルクス中佐
連合軍司令官の署名
18日、1945年5月16日16時30分にワーゲニンゲンで上記の命令の写しを受け取ったことを認め、あらゆる点で遵守することを約束する。
オランダのドイツの総司令官であるヨハネス・ブラスコウィッツは、ホテル・ゲレヴェレルドのワーゲニンゲンにあるカナダの将軍チャールズ・フォールクスに自分を紹介します。
16:30に、オランダのドイツの最高司令官であったヨハネス・ブラスコヴィッツは、ベルゲナール王子(オランダの内陸軍をとして表す)の前で、ホテル・デヴェレルドのワーゲニンゲンにあるカナダの将軍チャールズ・フォルケスに降伏しました。オランダの総司令官)。
1945年5月のワーゲニンゲンでの降伏は歴史の改ざんです
ベルンハルト王子自身はオランダを代表して署名しなかったので、彼の存在は降伏にとって重要ではありません。
その日以降、オランダの二重代理人および支持者として、すべての当事者がナチスによって誤解されたようです。ベルンハルト・フォンリッペは、1942年にヒトラーにスタッド・ホルダーの地位を申請しました。
元ウィルヘルミナ女王は政党の助けを借りて、影の政府としての静かなクーデターを経て君主であり続けましたが、本当の支配者は1954年にCIAと共同でビルダーバーグ組織を設立したスタッドホルダーのベルンハルトでした。
戦後のドイツ政府はすべて西側同盟国の操り人形でした。
1940年5月13日に王国とともに失効した憲法は決して復活せず、すべてがフレーズであり、戦後のヒトラー内閣のすべてによってカバーされていました。
結論として、あなたがもはや存在しない国を代表して契約と条約を締結する場合、すべての条約は法的に有効ではありません。
国連、WHO、EUはナチスによる詐欺によって作成されました。
したがって、石油と引き換えにヨーロッパをイスラムとするすべての条約は、ヨーロッパの人々に対する反逆行為です。
https://www.youtube.com/watch?v=zt0pHmZuDz0
すべての戦争はカバル戦争の銀行家だったので、これは第二次世界大戦の前の日付に戻すことができます。したがって、ヤルタII会議と条約でドイツ帝国を回復するためのプーチンの素晴らしい動きです。
これはすべての国の主権を回復し、ゲサラは互換性があります。
Janet Ossebaardからのより多くの赤いピル:
https://prepareforchange.net/2020/03/05/fall-of-the-cabal-docuseries-red-pill/?fbclid=IwAR1F2Cy2MRK3-PU8atL9Bzzq0-yeQ84BVUu8CU-dtHG2R_yrdfXa816wY44
https://operationdisclosure1.blogspot.com/2020/05/the-biggest-and-longest-false-flag-ever.html
















